退役军人服务“一件事”办理渠道
线上渠道:登录湖北政务服务网,进入“高效办成一件事”专区,找到退役军人服务“一件事”,点击“在线办理”,提交所需材料即可。


线下渠道:
1.可前往潜江市紫月西路10号市民之家一楼 军人退役综合窗口 咨询办理。

一楼 军人退役综合窗口
2.可前往潜江市紫月西路10号市民之家一楼“关联事项集成办”窗口咨询办理。

一楼“关联事项集成办”窗口
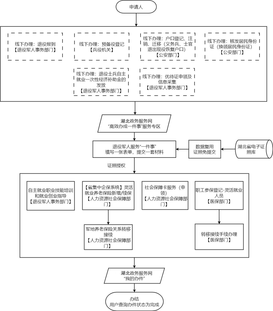
退役军人服务“一件事”办理流程图

退役军人服务“一件事”办理指南
办理时间:
每年3月1日-3月30日、9月1日-9月30日、周一至周五 上午8:30-12:00 下午14:30-17:30(法定节假日除外)
联办事项:
退役报到
预备役登记
户口登记、注销、迁移(义务兵、士官退出现役恢复户口)
核发居民身份证(换领居民身份证)
退役士兵自主就业一次性经济补助金的发放
优待证申领及信息采集
自主就业职业技能培训和就业创业指导
职工参保登记-灵活就业人员参保登记
转移接续手续办理
【省集中企保系统】灵活就业养老保险新增/续保
军地养老保险关系转移接续
社会保障卡服务(申领)
申报须知:
一、退役报到
以自主就业方式退出现役的士兵。
二、预备役登记
服现役满1年以上的退役军人。
三、户口登记、注销、迁移(义务兵、士官退出现役恢复户口)
1、拟落户武汉市以外其他市州的,到入伍前户口所在地或者安置地公安机关申报恢复户口;
2、拟落户武汉的,有下列情形之一的,可以申请落户:(1)服现役期间父母双方或者一方户口所在地变更的,可以在父母双方或一方现户口所在地安置;(2)符合部队有关现役士兵结婚规定且结婚满两年的,可以在配偶或者配偶父母户口所在地安置;(3)因其他特殊情况,由部队师(旅)级单位出具证明,经省级以上人民政府退役士兵安置工作主管部门批准异地安置的。
四、核发居民身份证(换领居民身份证)
居民身份证有效期满、公民姓名等主项信息变更或更正,应当换领新证。
五、社会保障卡服务(申领)
在中国境内居住的中国公民,以及在中国境内就业或者参加社会保险的香港、澳门特别行政区居民、台湾地区居民、外国人。
六、退役士兵自主就业一次性经济补助金的发放
以自主就业方式退出现役的士兵,工作人员根据退役士兵档案为其办理一次性经济补助金发放业务。
七、【省集中企保系统】灵活就业养老保险新增/续保
根据《中华人民共和国社会保险法》第十条:职工应当参加基本养老保险,由用人单位和职工共同缴纳基本养老保险费。无雇工的个体工商户、未在用人单位参加基本养老保险的非全日制从业人员以及其他灵活就业人员可以参加基本养老保险,由个人缴纳基本养老保险费。
八、职工参保登记-灵活就业人员
自愿参加职工基本医疗保险的无雇工的个体工商户、未在用人单位参加基本医疗保险的非全日制从业人员以及其他灵活就业人员,可以向医疗保障经办机构申请办理参加职工基本医疗保险登记。
九、自主就业职业技能培训和就业创业指导
安置地在湖北省辖区内,以自主就业方式退出现役的士兵。
十、军地养老保险关系转移接续
军人发生退役、外地就业等法定情形的。
十一、转移接续手续办理
参保人员跨统筹地区流动,在转出地已暂停参保,并按规定参加转入地基本医疗保险的,可申请转移接续手续办理。
十二、优待证申领及信息采集
符合《退役军人、其他优抚对象优待证管理办法(试行)》相关条件的退役军人。
申办材料:
退役军人服务“一件事”申请表
中华人民共和国居民身份证
有效身份证件
证件照
委托代办函
军人退役医疗保险个人账户转移凭证
如有疑问,请拨打咨询电话:
0728-6250260
扫一扫在手机上查看当前页面