
点击蓝字,关注我们
为加快企业上市进程,保护企业利益,潜江市新推出了企业上市合法合规信息核查“一件事”服务!该服务为企业提供“一站式”核查工作,最大限度降低企业上市信息核查成本!

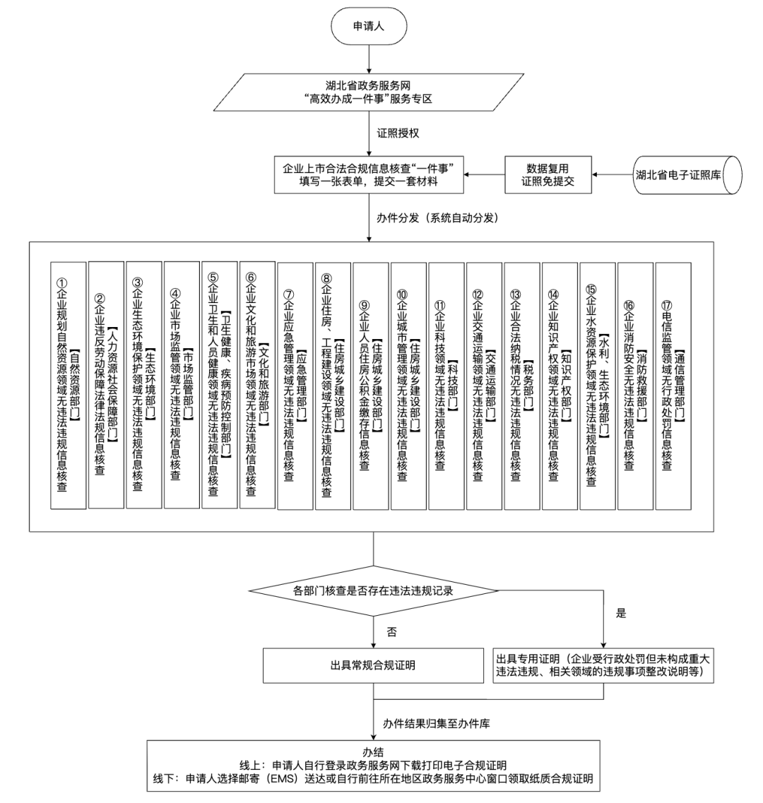
企业上市合法合规信息核查“一件事”是什么?
企业上市合法合规信息核查“一件事”旨在解决企业在上市过程中面临的合法合规信息核查难题。通过整合各部门的信息资源,实现信息的共享和互通,简化核查流程,提高核查效率,促进市场主体的健康发展。
企业上市合法合规信息核查“一件事”服务对象
法人
企业上市合法合规信息核查“一件事”联办事项
①电信监管领域无行政处罚信息核查
②企业规划自然资源领域无违法违规信息核查
③企业违反劳动保障法律法规信息核查
④企业生态环境保护领域无违法违规信息核查
⑤企业市场监管领域无违法违规信息核查
⑥企业卫生和人员健康领域无违法违规信息核查
⑦企业文化和旅游市场领域无违法违规信息核查
⑧企业应急管理领域无违法违规信息核查
⑨企业住房、工程建设领域无违法违规信息核查
⑩企业人员住房公积金缴存信息核查
⑪企业城市管理领域无违法违规信息核查
⑫企业科技领域无违法违规信息核查
⑬企业交通运输领域无违法违规信息核查
⑭企业合法纳税情况无违法违规信息核查
⑮企业知识产权领域无违法违规信息核查
⑯企业水资源保护领域无违法违规信息核查
⑰企业消防安全无违法违规信息核查
企业上市合法合规信息核查“一件事”申办材料
企业上市合法合规信息查询申请表
拟上市企业营业执照
企业法定代表人中华人民共和国居民身份证
企业上市合法合规查询授权委托书
经办人中华人民共和国居民身份证
企业近一年工资表
企业近一年社保清册(参保证明)
企业上市合法合规信息核查“一件事”办理渠道
具有线上、线下两种办理渠道。
线上办理渠道:①登录湖北政务服务网,进入“高效办成一件事”专区,找到企业上市合法合规信息核查“一件事”,点击“立即办理”即可。②登录鄂汇办APP,在特色专题里找到“高效办成一件事”专区,找到企业上市合法合规信息核查“一件事”,点击“立即办理”即可。
线下办理渠道:群众可到潜江市民之家一楼综合窗口咨询办理。
企业上市合法合规信息核查“一件事”办理流程图

扫一扫在手机上查看当前页面