个人创业“一件事”办理渠道
线上渠道:
登录湖北政务服务网,进入“高效办成一件事”专区,找到个人创业“一件事”,点击“在线办理”,选择潜江区划并提交所需材料即可。


线下渠道:
可前往潜江市紫月西路10号市民之家一楼人社服务区个人创业“一件事”窗口,或前往一楼“关联事项集成办”窗口咨询办理。

一楼人社服务区个人创业“一件事”窗口

一楼“关联事项集成办”窗口
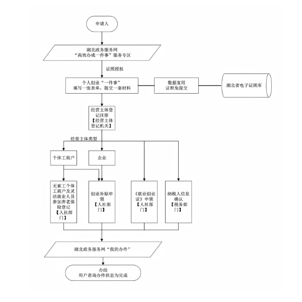
个人创业“一件事”办理流程图

个人创业“一件事”办事指南
服务对象:
已创业人员和有创业意愿的人员。
联办事项:
1.就业创业证申领
2.无雇工个体工商户及灵活就业人员参加养老保险登记
3.创业补贴申领
4.经营主体登记注册
5.纳税人信息确认
申报须知:
一、《就业创业证》申领
申请《就业创业证》申领,应当符合下列条件:
1、已进行就业登记、失业登记的劳动者;
二、无雇工个体工商户及灵活就业人员参加养老保险登记
申请无雇工个体工商户及灵活就业人员参加养老保险登记,应当符合下列条件:
2、无雇工的个体工商户、未在用人单位参加基本养老保险的非全日制从业人员以及其他灵活就业人员可以参加基本养老保险,由个人缴纳基本养老保险费;
三、创业补贴申领
申请创业补贴申领,应当符合下列条件:
3、对初次办理注册登记,经营6个月及以上且带动就业2人及以上(含创业者本人)的就业困难人员、 高校毕业生(毕业5年内)、返乡入乡人员(注册5年内),给予5000元的一次性创业补贴。以上一次性创业补贴,不可重复申报;
四、经营主体登记注册
申请经营主体登记注册,应当符合下列条件:
4、申请材料齐全、符合法定形式,登记机关予以确认登记;
五、纳税人信息确认
申请纳税人信息确认,应当符合下列条件:
5、已完成经营主体登记注册
申办材料:
1.个人创业“一件事” 登记表
2.中华人民共和国居民身份证(线上申请免提交)
3.营业执照(线上申请免提交)
4.毕业证书或学生证
5.公司登记(备案) 申请书
6.公司章程
7.股东、发起人的主体资格文件或自然人身份证明
8.法定代表人、董事、 监事和经理的任职文件
9.住所使用相关文件
10.带动就业相关材料(劳动合同等)
如有疑问,请拨打咨询电话:
0728-6291581
扫一扫在手机上查看当前页面