事项名称:社会保障卡服务
子项名称:密码解锁
服务对象:自然人
申请条件:在中国境内居住的中国公民,以及在中国境内就业或者参加社会保险的香港、澳门特别行政区居民、台湾地区居民、外国人。
申请材料:1.有效身份证件
(1)中华人民共和国居民身份证
(2)居民户口簿
2.中华人民共和国社会保障卡
3.委托代办函
设定依据:1.关于印发“中华人民共和国社会保障卡”管理办法的通知
2.关于社会保障卡加载金融功能的通知
办理时间:周一至周五上午8:30-12:00,下午14:30-17:30(法定节假日除外)
办结时限:1个工作日
办理地点:潜江市紫月西路10号市民之家一楼人社服务区8号综合窗口
办理流程:

联系电话:0728-6296352
事项名称:社会保障卡服务
子项名称:补换卡
服务对象:自然人
申请条件:1.社会保障卡有效期到期可以换卡。
2.社会保障卡损坏无法使用可以换卡。
3.社会保障卡卡面信息发生变更可以换卡
4.办理补卡前必须办理正式挂失。
申请材料:1.有效身份证件
(1)中华人民共和国居民身份证
(2)居民户口簿
(3)中华人民共和国社会保障卡
2.委托代办函
设定依据:1.关于印发“中华人民共和国社会保障卡”管理办法的通知
2.关于社会保障卡加载金融功能的通知
办理时间:周一至周五上午8:30-12:00,下午14:30-17:30(法定节假日除外)
办结时限:1个工作日
办理地点:潜江市紫月西路10号市民之家一楼人社服务区8号综合窗口
办理流程:

联系电话:0728-6296352
事项名称:社会保障卡服务
子项名称:临时挂失
服务对象:自然人
申请条件:在中国境内居住的中国公民,以及在中国境内就业或者参加社会保险的香港、澳门特别行政区居民、台湾地区居民、外国人。
申请材料:1.有效身份证件
(1)中华人民共和国居民身份证
(2)居民户口簿
(3)中华人民共和国社会保障卡
2.委托代办函
设定依据:1.关于印发“中华人民共和国社会保障卡”管理办法的通知
2.关于社会保障卡加载金融功能的通知
办理时间:周一至周五上午8:30-12:00,下午14:30-17:30(法定节假日除外)
办结时限:1个工作日
办理地点:潜江市紫月西路10号市民之家一楼人社服务区8号综合窗口
办理流程:

联系电话:0728-6296352
事项名称:社会保障卡服务
子项名称:注销
服务对象:自然人
申请条件:参保人出国定居、死亡、养老保险跨省转移的可以申请注销社会保障卡
申请材料:1、有效身份证件
(1)中华人民共和国居民身份证
(2)居民户口簿
(3)中华人民共和国社会保障卡
2、终止参保材料
设定依据:1.关于印发“中华人民共和国社会保障卡”管理办法的通知
2.关于社会保障卡加载金融功能的通知
办理时间:周一至周五上午8:30-12:00,下午14:30-17:30(法定节假日除外)
办结时限:1个工作日
办理地点:潜江市紫月西路10号市民之家一楼人社服务区8号综合窗口
办理流程:

联系电话:0728-6296352
事项名称:社会保障卡服务
子项名称:非关键信息变更
服务对象:自然人
申请条件:在中国境内居住的中国公民,以及在中国境内就业或者参加社会保险的香港、澳门特别行政区居民、台湾地区居民、外国人。
申请材料:1.有效身份证件
(1)中华人民共和国居民身份证
(2)居民户口簿
(3)中华人民共和国社会保障卡
2.委托代办函
设定依据:1.关于印发“中华人民共和国社会保障卡”管理办法的通知
2.关于社会保障卡加载金融功能的通知
办理时间:周一至周五上午8:30-12:00,下午14:30-17:30(法定节假日除外)
办结时限:1个工作日
办理地点:潜江市紫月西路10号市民之家一楼人社服务区8号综合窗口
办理流程:

联系电话:0728-6296352
事项名称:社会保障卡服务
子项名称:密码重置
服务对象:自然人
申请条件:在中国境内居住的中国公民,以及在中国境内就业或者参加社会保险的香港、澳门特别行政区居民、台湾地区居民、外国人。
申请材料:1.有效身份证件
(1)中华人民共和国居民身份证
(2)居民户口簿
2.中华人民共和国社会保障卡
3.委托代办函
设定依据:1.关于印发“中华人民共和国社会保障卡”管理办法的通知
2.关于社会保障卡加载金融功能的通知
办理时间:周一至周五上午8:30-12:00,下午14:30-17:30(法定节假日除外)
办结时限:1个工作日
办理地点:潜江市紫月西路10号市民之家一楼人社服务区8号综合窗口
办理流程:

联系电话:0728-6296352
事项名称:社会保障卡服务
子项名称:密码修改
服务对象:自然人
申请条件:在中国境内居住的中国公民,以及在中国境内就业或者参加社会保险的香港、澳门特别行政区居民、台湾地区居民、外国人。
申请材料:1.有效身份证件
(1)中华人民共和国居民身份证
(2)居民户口簿
2.中华人民共和国社会保障卡
3.委托代办函
设定依据:1.关于印发“中华人民共和国社会保障卡”管理办法的通知
2.关于社会保障卡加载金融功能的通知
办理时间:周一至周五上午8:30-12:00,下午14:30-17:30(法定节假日除外)
办结时限:1个工作日
办理地点:潜江市紫月西路10号市民之家一楼人社服务区8号综合窗口
办理流程:

联系电话:0728-6296352
事项名称:社会保障卡服务
子项名称:解挂
服务对象:自然人
申请条件:在中国境内居住的中国公民,以及在中国境内就业或者参加社会保险的香港、澳门特别行政区居民、台湾地区居民、外国人。
申请材料:1.有效身份证件
(1)中华人民共和国居民身份证
(2)居民户口簿
(3)中华人民共和国社会保障卡
2.委托代办函
设定依据:1.关于印发“中华人民共和国社会保障卡”管理办法的通知
2.关于社会保障卡加载金融功能的通知
办理时间:周一至周五上午8:30-12:00,下午14:30-17:30(法定节假日除外)
办结时限:1个工作日
办理地点:潜江市紫月西路10号市民之家一楼人社服务区8号综合窗口
办理流程:

联系电话:0728-6296352
事项名称:社会保障卡服务
子项名称:正式挂失
服务对象:自然人
申请条件:在中国境内居住的中国公民,以及在中国境内就业或者参加社会保险的香港、澳门特别行政区居民、台湾地区居民、外国人。
申请材料:1.有效身份证件
(1)中华人民共和国居民身份证
(2)居民户口簿
(3)中华人民共和国社会保障卡
2.委托代办函
设定依据:1.关于印发“中华人民共和国社会保障卡”管理办法的通知
2.关于社会保障卡加载金融功能的通知
办理时间:周一至周五上午8:30-12:00,下午14:30-17:30(法定节假日除外)
办结时限:1个工作日
办理地点:潜江市紫月西路10号市民之家一楼人社服务区8号综合窗口
办理流程:

联系电话:0728-6296352
事项名称:社会保障卡服务
子项名称:社保功能激活
服务对象:自然人
申请条件:在中国境内居住的中国公民,以及在中国境内就业或者参加社会保险的香港、澳门特别行政区居民、台湾地区居民、外国人。
申请材料:1.有效身份证件
(1)中华人民共和国居民身份证
(2)居民户口簿
(3)中华人民共和国社会保障卡
2.委托代办函
设定依据:1.关于印发“中华人民共和国社会保障卡”管理办法的通知
2.关于社会保障卡加载金融功能的通知
办理时间:周一至周五上午8:30-12:00,下午14:30-17:30(法定节假日除外)
办结时限:1个工作日
办理地点:潜江市紫月西路10号市民之家一楼人社服务区8号综合窗口
办理流程:

联系电话:0728-6296352
事项名称:社会保障卡服务
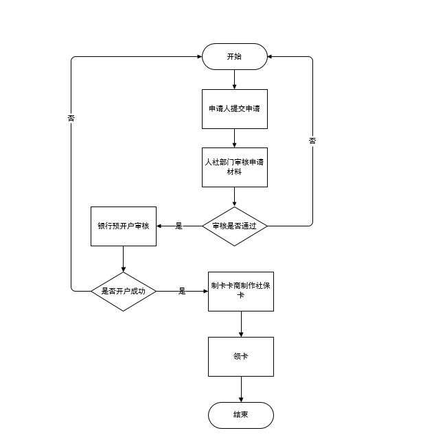
子项名称:申领
服务对象:自然人
申请条件:在中国境内居住的中国公民,以及在中国境内就业或者参加社会保险的香港、澳门特别行政区居民、台湾地区居民、外国人。
申请材料:1.有效身份证件
(1)中华人民共和国居民身份证
(2)居民户口簿
2.湖北省中华人民共和国社会保障卡申领表
3.证件照
4.委托代办函
5.居民户口簿
6.出生医学证明
7.代办人有效身份证件
(1)中华人民共和国居民身份证
(2)居民户口簿
设定依据:1.关于印发“中华人民共和国社会保障卡”管理办法的通知
2.关于社会保障卡加载金融功能的通知
办理时间:周一至周五上午8:30-12:00,下午14:30-17:30(法定节假日除外)
办结时限:1个工作日
办理地点:潜江市紫月西路10号市民之家一楼人社服务区8号综合窗口
办理流程:

联系电话:0728-6296352
事项名称:社会保障卡服务
子项名称:制卡进度及卡状态查询
服务对象:自然人
申请条件:在中国境内居住的中国公民,以及在中国境内就业或者参加社会保险的香港、澳门特别行政区居民、台湾地区居民、外国人。
申请材料:1.有效身份证件
(1)中华人民共和国居民身份证
(2)居民户口簿
(3)中华人民共和国社会保障卡
2.委托代办函
设定依据:1.关于印发“中华人民共和国社会保障卡”管理办法的通知
2.关于社会保障卡加载金融功能的通知
办理时间:周一至周五上午8:30-12:00,下午14:30-17:30(法定节假日除外)
办结时限:1个工作日
办理地点:潜江市紫月西路10号市民之家一楼人社服务区8号综合窗口
办理流程:

联系电话:0728-6296352
扫一扫在手机上查看当前页面